وصف
إعادة تسطيح أرضية شبك الأمان
تُعد أرضيات مداس الجر ومواد تجديد دعامة الإمساك بمثابة حلول شائعة لإعادة تسطيح الأرضيات. يقدم كلا المنتجين فوائد ذات قيمة واسعة لشبك الأمان: مقاومة ممتازة للانزلاق، وبنية خفيفة الوزن، وسهولة التصنيع.
يمكنك تركيب منتجات إعادة تسطيح الأرضيات هذه على الأرضيات والسلالم الجديدة أو الموجودة.
نحن نقدم أوراق مخزون قياسية أو منتجات مخصصة حسب الحجم لتلبية متطلبات مشروعك المحددة.
خيارات إعادة تسطيح الأرضية بشبك الأمان
أرضيات الجرتتميز أرضيات مداس الجر المتوافقة مع ADA بسطح للمشي مع مئات من الأزرار المثقبة التي توفر مقاومة للانزلاق في جميع الاتجاهات. نمط الزر المتدرج القياسي الموضح متاح في المخزون؛ يمكننا إنتاج أنماط متخصصة بناء على طلب خاص. حجم ورقة المخزون القياسي هو 36 بوصة × 120 بوصة، والتي يمكننا قصها حسب أبعادك المحددة. متوفر في الفولاذ الكربوني بقياس 11 و13 و16 أو الألومنيوم بسمك 0.125 بوصة. | ![]() |
| المقياس / السماكة | رقم الكتالوج | الوزن / سادس |
|---|---|---|
| HRPO الكربون الصلب أو الصلب المجلفن مسبقا | ||
| 11 الجا. | ت-3611* | 5.0 رطل |
| 13 الجا. | ت-3613* | 3.8 رطل |
| 16 جا. | ت-3616* | 2.5 رطل |
| *إضافة -B كتالوج عدد منتجات HRPO | ||
| سبائك الألومنيوم 5052-H32 | ||
| 0.125″ | تي تي-36.125-أ | 1.6 رطل |
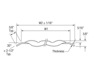
مادة تجديد دعامة المقبضعند تحديد مادة تجديد Grip Strut، فإن سطح المشي القياسي المسنن والمفتوح الماسي يوفر أقصى مقاومة للانزلاق. يحظى هذا المنتج بشعبية خاصة في المناطق التي تتسرب فيها السوائل ومواد التشحيم بشكل متكرر إلى الأرضيات أو المنصات. العرض القياسي يشمل: متوفر في الفولاذ الكربوني مقاس 12 أو 14، أو الفولاذ المقاوم للصدأ مقاس 16، أو الألومنيوم بسمك 0.100 بوصة و0.080 بوصة. | ![]() |
| البعد | 2-الماس | 3-الماس | 4-الماس |
|---|---|---|---|
| W1 | 5-3/16" | 7-1/2" | 9-13/16″ |
| W2 | 6-1/4" | 8-9/16" | 10-7/8" |
| البعد | 5-الماس | 8-الماس | 10-الماس |
| W1 | 12-1/8" | 19-1/16" | 23-11/16" |
| W2 | 13-3/16" | 20-1/8" | 24-3/4" |




التعليقات
لا توجد تعليقات حتى الآن.